| |
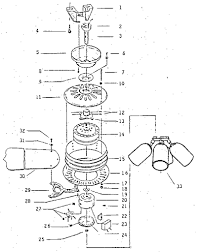
Hampton Bay Ceiling Fan Parts Diagram
Hampton bay fan hardware accessories ceiling fan parts the home depot.
Hampton bay ceiling fan parts diagram. I have outlined the procedure above for this. They can get you any of the replacement blades you may need including the outdoor models and ceiling fan light cover. 4 2 out of 5 stars 43.
1 16 of 582 results for hampton bay fans parts anderic replacement for hampton bay fan10r ceiling fan receiver fan 10r used with hampton bay fan9t fan 9t thermostatic remote controls fan reverse high medium low off and lights. Very modern ceiling fan complete with 4 beautiful reversible ceiling fan blades in a black silver finish suitable for a large bedroom or living room. You will need to provide them with the model number and manufacturer name of the fan.
Get free shipping on qualified hampton bay ceiling fan parts or buy online pick up in store today in the lighting department. Don t forget to try a new battery in the remote before changing it. Otherwise the structure will not work as it ought to be.
Each component ought to be set and linked to different parts in specific manner. Hampton bay 3 speed ceiling fan switch wiring diagram hampton bay 3 speed ceiling fan switch wiring diagram every electrical structure is made up of various different parts. Hampton bay spoleto ii ceiling fan manual.
You may also have a malfunctioning remote but losing the remote still stays at the top of the list for replacement reasons. 33 48 of 433 results for hampton bay ceiling fan replacement parts hampton bay replacement remote for transmitter model chq7096t with up down light and reverse function. Common hampton bay ceiling fan parts hampton bay ceiling fan remote.
This beautiful ceiling fan has 5 reversible black cherry blades the style of the huntington iii is timeless and a more than perfect fit for any bedroom. If you can t get it repaired under warranty or service plan and can t find the part on the home depot website then you need to call the company that produces hampton bay ceiling fans directly at 855 434 2678 and they will send you the replacement parts as you need them you can find the list of hampton bay ceiling fan parts and company contact information by finding your manual on our. Huntington iii ceiling fan.
Source : pinterest.com
